项目案例

放空立管模型噪声试验

发布时间:2025-10-29 来源:

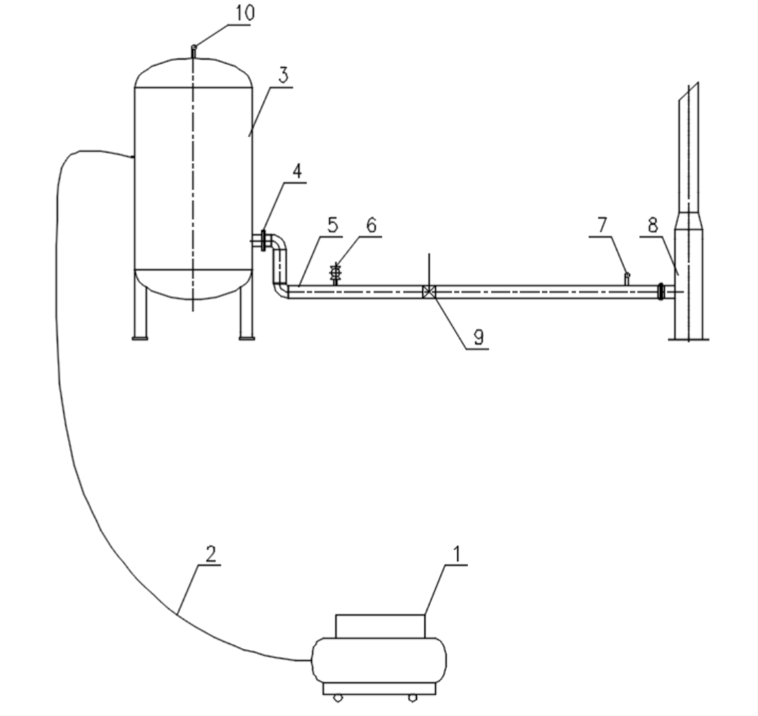
随着人们对环保越来越重视,国家对环保要求增强、对噪声的管理也日趋严格。放空降噪越来越受到人们的关注,放空立管的降噪设计也显得尤为重要。为了减少放空时产生的噪音对工作人员的伤害及周围居民生活的影响,工程设计中应充分考虑立管放空的降噪。本项目对传统立管进行优化和改进来实现降噪效果,在理论设计完成后需要对所设计的新型立管进行放空比例试验,验证其降噪效果。

图1 试验平台示意图

图2放空全程时域波形

图3 降噪效果



附件: